Strojní svěrák HPAC-130S s mechanickým posilovačem
-
Kompaktní konstrukce s velkým rozevřením čelistí
-
Extrémně vysoká přesnost a opakovatelnost
-
Speciální konstrukce MULTI-POWER zvyšuje upínací sílu v rozsahu 0–6000 kg
-
Patentovaný MULTI-POWER systém, vyrobený z vysoce kvalitní ložiskové oceli, zdvojnásobuje upínací sílu.
Nastavitelná upínací síla v rozsahu 0–6000 kg.
Tento speciální patentovaný systém zajišťuje rovnoměrnější a stabilnější tlak a zároveň eliminuje únik oleje a problémy s údržbou, které jsou typické pro hydraulické svěráky. -
Vodicí plochy jsou kalené na HRC 50, což výrazně zvyšuje jejich odolnost proti opotřebení a zachovává přesnou výšku upnutí i při dlouhodobém používání.
-
Použitím vysoce pevné litiny třídy FCD 60 a vyšší v kombinaci se systémem ANGLE-LOCK je dosaženo mimořádné tuhosti.
Tento systém při upínací síle 4500 kg automaticky stahuje obrobek směrem dolů a zajišťuje jeho přesné usazení s odchylkou do 0,01 mm.
Svěrák je ideální pro přesnou výrobu forem a nástrojů na obráběcích centrech. -
Tělo svěráku je vyrobeno z tvárné litiny třídy FCD 60 a vyšší pro maximální přesnost a dlouhou životnost.
Je vyrobeno z jednoho masivního kusu, má velmi vysokou tuhost a při upínací síle 4500 kg je deformace menší než 0,01 mm. -
Svěrák lze upínat horizontálně i vertikálně, což zajišťuje široké možnosti použití.
-
Nastavitelný dorazový kroužek – jednoduché a účinné přednastavovací zařízení, které umožňuje nastavit požadovanou upínací sílu a zaručuje opakované upnutí vždy se stejnou silou.

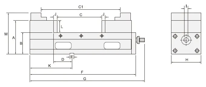
| Model | A | B | C | C1 | D | E | F | G |
|---|---|---|---|---|---|---|---|---|
| HPAC-130S | 147 | 95 ± 0.01 | 0–190 | 155–340 | 75 ± 0.02 | 18 | 462 | 510 |
| Model | Max. upínací síla | H | I | J | K | L | M | Hmotnost (kg) |
| HPAC-130S | 5000kg | 131 | 19 | 15 | 178 | 55 | 181 | 46.5 |
Doplňkové parametry
| Kategorie: | Strojní svěráky |
|---|---|
| Hmotnost: | 46.5 kg |



